Analog Devices Inc. AD5940 & AD5941 Analog Front End (AFE)
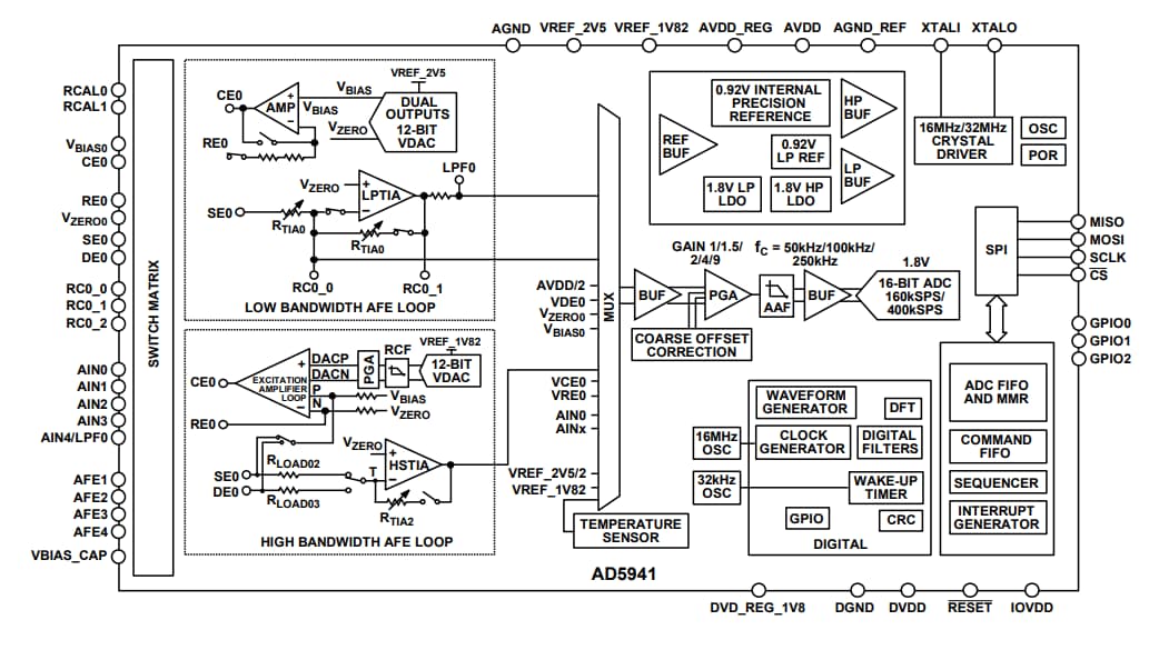
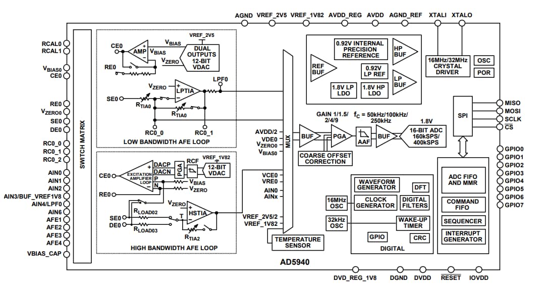
Analog Devices AD5940 and AD5941 High Precision, Low Power, and Electrochemical Analog Front End (AFE) are designed for portable applications that require high precision, electrochemical-based measurement techniques. The AD5940 and AD5941 are capable of voltage, current, and impedance measurements and can be used to measure skin impedance, body impedance, and electrochemical gas sensing. This device consists of two high precision excitation loops and one common measurement channel that enables a wide capability of measurements of a sensor under test.The AD5940 and AD5941 measurement channel features a 16-bit, 800kSPS, multichannel successive approximation register (SAR) analog-to-digital converter (ADC) with input buffers, a built-in anti-alias filter, and a programmable gain amplifier (PGA). An input mux in front of the ADC allows the user to select an input channel for measurement. These input channels include multiple external current inputs, external voltage inputs, and internal channels. The internal channels allow diagnostic measurements of the internal supply voltages, die temperature, and reference voltages.
The AD5940 operates from a 2.8V to 3.6V supply and is specified over a temperature range of -40°C to +85°C. The AD5940 is packaged in a 56-lead, 3.6mm × 4.2mm Wafer Level Chip Scale Package (WLCSP).
The AD5941 is available in a 48-lead Leadframe Chip Scale Package (LFCSP).
Features
- Analog input:
- 16bit, 800kSPS ADC
- Voltage, current, and impedance capability
- Internal and external current and voltage channels
- Ultralow leakage switch matrix and input mux
- Input buffers and programmable gain amplifier voltage DACs
- Power:
- Power-on reset
- Hibernate mode with low-power DAC and potentiostat amplifier powered up to maintain sensor bias
- Amplifiers, accelerators, and references:
- One low-power, low-noise potentiostat amplifier suitable for potentiostat bias in electrochemical sensing
- One low noise, low power Transimpedance TIA, suitable for measuring current output
- Programmable load and gain resistors for sensor output
- Analog hardware accelerators
- Digital waveform generator
- Receive filters
- Complex impedance measurement (DFT) engine
Applications
- Electrochemical measurements
- Electrochemical gas sensors
- Potentiostat/amperometric/voltammetry/cyclic voltammetry
- Bioimpedance
- Skin impedance
- Body impedance
- Continuous glucose monitoring
- Battery impedance
Specifications
- Analog Input, Amplifiers, accelerators, and references:
- 16bit, 800kSPS ADC
- Dual output voltage DAC with 0.2V to 2.4V output voltage
- ±607mV output to the sensor
- 50pA to 3mA range
- 2.5V and 1.82V internal reference voltage sources
- 6.5µA ultra-low power potentiostat channel
- Power:
- 2.8V to 3.6V supply
- 1.82V input/output compliant
- Package and temperature range:
- 56-ball WLCSP
- 3.6mm x 4.2mm dimensions
- -40°C to 85°C operating temperature range
Simplified Block Diagram
ADDITIONAL RESOURCES
Liquid Measurements – From Water to Blood
This article concentrates on fluid measurements with medical uses and thereby describes the individual applications as well as the versatility of impedance measurements.
Learn More
- Bioelectrical Impedance Analysis Article
- Optimizing the AD5940 for Electrochemical Measurements Application Note
- Implementing the AD5940 and AD8233 in a Full Bioelectric System Application Note
Condition-Based Monitoring of the Human Body
With advances in technology, vital sign monitoring will become increasingly common in various industries and throughout our daily lives. Whether used for treatment or prevention, such health-related solutions call for reliable and robust technology.
Learn More
