Analog Devices Inc. ADRF5080 100MHz to 20GHz Silicon SP8T Switches

Analog Devices Inc. ADRF5080 100MHz to 20GHz Silicon SP8T Switches are cutting-edge reflective SP8T switches crafted with precision. The Analog Devices Inc. ADRF5080 covers a frequency range of 100MHz to 20GHz. The device boasts performance with an insertion loss below 2.0dB and an isolation surpassing 40dB. 

Features

  • 100MHz to 20GHz ultrawideband frequency range
  • Low insertion loss
    • 1.3dB up to 6GHz
    • 1.6dB up to 12GHz
    • 2.0dB up to 20GHz
  • High isolation
    • 46dB up to 6GHz
    • 45dB up to 12GHz
    • 40dB up to 20GHz
  • High input linearity
    • 33dBm typical P0.1dB
    • 55dBm typical IP3
  • High RF power handling
    • 33dBm insertion loss path
    • 30dBm hot switching
  • 55ns fast switching on and off time
  • 0.1dB settling time (50% VCTRL to 0.1dB final RFOUT) 100ns
  • Single-supply operation capability
  • All off-state control
  • Logic select control
  • No low-frequency spurs
  • 36-terminal, 5.50mm x 5.50mm LGA package

Applications

  • Test and instrumentation
  • Military radios, radars, and electronic countermeasures (ECMs)
  • Microwave radios and very small aperture terminals (VSATs)

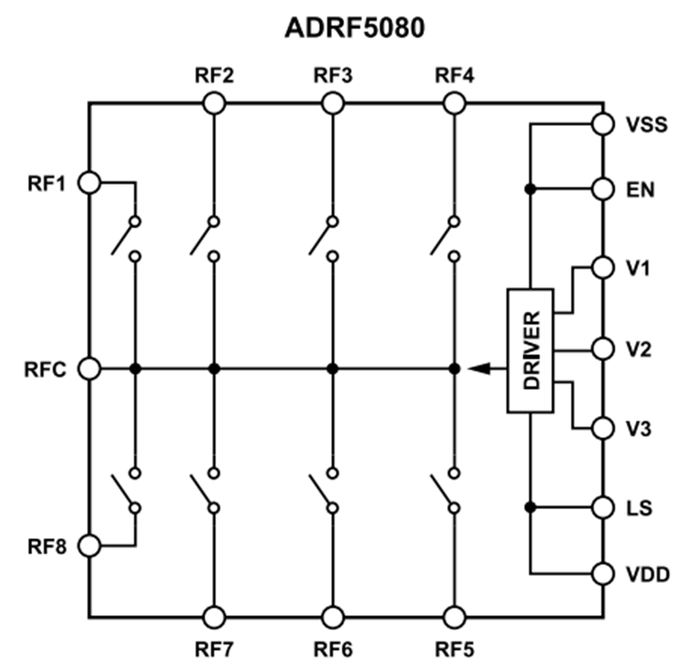
FUNCTIONAL BLOCK DIAGRAM

Block Diagram - Analog Devices Inc. ADRF5080 100MHz to 20GHz Silicon SP8T Switches
Published: 2023-08-07 | Updated: 2023-08-25