Microchip Technology EMC18xx Multi-Ch Low Voltage Temperature Sensors

Microchip EMC18xx Multi-Channel Low Voltage Temperature Sensors are high-accuracy, 2-wire (I2C) temperature sensors with resistor programmable system shutdown. The EMC18xx components provide a rate of change temperature measurement with associated alerts, adding another protective measurement layer to catch and manage variable system temperatures.

The EMC18xx Temperature Sensors feature Resistance Error Correction (REC), Beta Compensation (to support CPU diodes requiring the BJT/Transistor model), and rate of temperature change measurement. Along with monitoring up to five temperature channels, the EMC18xx combines these features to provide a robust solution for complex environmental monitoring applications.

Features

  • Measures temperature rate of change calculation with preemptive alert(s) limits
  • Up to four external temperature monitors:
    • 8 lead devices: ±1°C maximum accuracy (-20°C to +105°C TA, -40°C to +125°C TD)
      • ±1.5°C maximum accuracy (-40°C to +125°C TA, -40°C to +125°C TD)
    • 10 lead devices:±1°C maximum accuracy (-20°C to +125°C TA, -40°C to +125°C TD)
      • ±1.5°C maximum accuracy (-40°C to +125°C TA, -40°C to +125°C TD)
    • Internal temperature sensor:
      • ±1°C maximum accuracy, -40°C to +125°C
    • Internal temperature sensor:
      • ±1°C maximum accuracy, -40°C to +125°C
  • 0.125°C temperature sensor resolution (internal/external)
  • Resistor programmable system shutdown temperature
  • Configurable alert pins
  • 1.62V to 3.6V operating voltage
  • -40°C to +125°C temperature range
  • Other features
    • Auto-beta compensation
    • Configurable ideality factor
    • Hottest diode compare
    • Resistance error correction
  • Available in 8-lead 2mm x 2mm WDFN and 10-Lead 2.5mm x 2.0mm VDFN packages

Applications

  • Temperature-sensitive storage
  • Industrial
  • IoT for low-system voltage
  • Portable electronics
  • Handheld gaming
  • Computing
  • Food storage

System Diagram

Application Circuit Diagram - Microchip Technology EMC18xx Multi-Ch Low Voltage Temperature Sensors

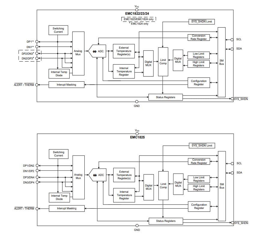
Block Diagrams

Block Diagram - Microchip Technology EMC18xx Multi-Ch Low Voltage Temperature Sensors
Published: 2019-08-13 | Updated: 2023-06-05