NXP Semiconductors PF1550 PMICs

NXP Semiconductors PF1550 Power Management Integrated Circuits (PMICs) are designed for use with i.MX processors on low-power portable, smart wearable, and Internet of Things (IoT) applications. These PMICs provide a full power solution to i.MX 7ULP, i.MX 6SL, 6UL, 6ULL, and 6SX processors. NXP PF1550 PMICs, in combination with three high-efficiency buck converters, three linear regulators, an RTC supply, and a battery linear charger, provide power for a complete battery-powered system. These PMICs feature 3 user-programmable LDO regulators, I2C interface, a DDR termination reference voltage, and a 1A linear Li-Ion battery charger. Typical applications include home automation, e-readers, smart mobiles, IoT, wireless game controllers, and embedded monitoring systems.

Features

  • 4.1V to 6V input voltage range to PMIC VBUSIN pin via USB bus, or AC adapter
  • Buck converters
    • Internal digital soft start
    • 1μA quiescent current in ULP mode with light load
    • >90% peak efficiency 
    • Dynamic voltage scaling on SW1 and SW2
    • Modes
      • Forced PWM quasi-fixed frequency mode
      • Adaptive variable-frequency mode
    • Programmable output voltage, current limit, and soft start
  • LDO regulators
    • <1.5μA quiescent current in low-power mode
    • Programmable output voltage
    • Soft start and ramp
    • Current limit protection
  • Battery charger
    • Supports single-cell Lithium-ion/Lithium-polymer batteries
    • Linear charging
    • Integrated 50m battery isolation MOSFET
    • Battery supplement mode
    • Up to 3A battery discharge over-current protection
    • Programmable LED driver
    • JEITA compliant battery temperature sensing and charger control
  • LDO/switch supply
    • 3V, 2mA RTC supply VSNVS 
    • Coin cell charger
  • 0.5 to 0.9V, and 10mA DDR memory reference voltage, VREFDDR
  • One-time programmable (OTP) memory for device configuration
    • User programmable start-up sequence, timing, soft-start, and power-down sequence
    • Programmable regulator output voltages and charger parameters
  • I2C interface
  • User programmable standby, sleep/low-power, and off (REGS_DISABLE) modes
  • -40°C to +105°C ambient temperature range

Applications

  • Smart mobiles/wearable devices
  • Low-power IoT
  • Wireless game controllers
  • Home automation
  • Embedded monitoring systems
  • POS
  • E-readers

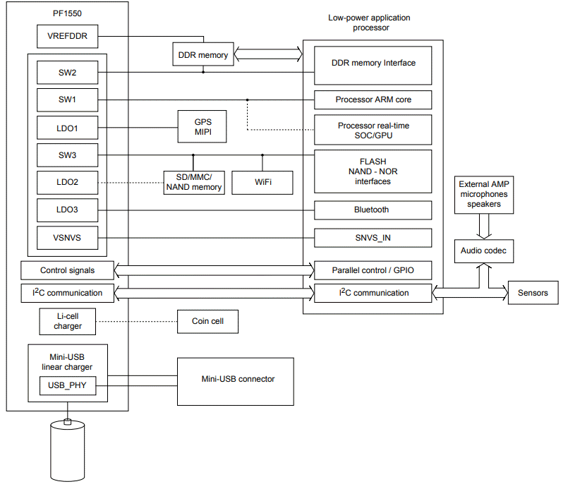
Functional Block Diagram

Block Diagram - NXP Semiconductors PF1550 PMICs

Block Diagram

Block Diagram - NXP Semiconductors PF1550 PMICs

Application Circuit

Application Circuit Diagram - NXP Semiconductors PF1550 PMICs
Published: 2018-08-07 | Updated: 2024-11-12