Texas Instruments AM1705 Arm®-Based Microprocessor (MPU)

Texas Instruments AM1705 Arm®-Based Microprocessor (MPU) is a low-power Arm microprocessor based on an ARM926EJ-S. The device enables original equipment manufacturers (OEMs) and original design manufacturers (ODMs) to quickly bring to market devices featuring robust operating systems support, rich user interfaces, and high processing performance life. This is done through the maximum flexibility of a fully integrated mixed processor solution. 

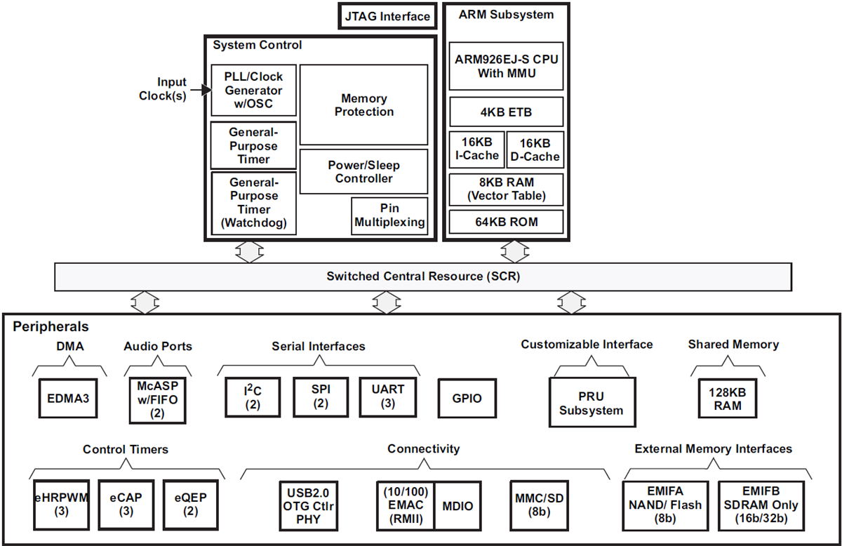
The ARM926EJ-S is a 32-bit RISC processor core that performs 32-bit or 16-bit instructions and processes 32-bit, 16-bit, or 8-bit data. The core uses pipelining so that all parts of the processor and memory system can operate continuously. The ARM core has a coprocessor 15 (CP15), protection module, and data and program memory management units (MMUs) with table look-aside buffers. The ARM core has separate 16KB of instruction and 16KB data caches. Both memory blocks are four-way associative with virtual index virtual tag (VIVT). The ARM core also has 8KB of RAM (Vector Table) and 64KB of ROM.

Features

  • 375 and 456MHz ARM926EJ-S™ RISC Core32-Bit and 16-Bit (Thumb®) instructions
  • ARM9 Memory architecture 16KB of instruction cache
  • Enhanced direct memory access controller 3 (EDMA3)
  • 128KB of RAM memory
  • 3.3V LVCMOS I/Os (Except for USB interface)
  • Two external memory interfaces
  • Three configurable 16550-Type UART modules
  • Two Serial Peripheral Interfaces (SPIs) each with one chip select
  • Programmable Real-Time Unit Subsystem (PRUSS)
  • Multimedia Card (MMC)/Secure Digital (SD) card interface with Secure Data I/O (SDIO)
  • Two masters and slave inter-integrated circuit (I2C Bus™)
  • USB 2.0 OTG port with integrated PHY (USB0)
  • Two Multichannel Audio Serial Ports (McASPs)
  • 10/100Mbps Ethernet MAC (EMAC)
  • One 64-Bit general-purpose timer (Configurable as two 32-Bit timers)
  • One 64-Bit general-purpose watchdog timer (Configurable as two 32-Bit general-purpose timers)
  • Three Enhanced Pulse Width Modulators (eHRPWMs)
  • Three 32-Bit Enhanced Capture (eCAP) modules
  • Two 32-Bit Enhanced Quadrature Encoder Pulse (eQEP) modules
  • 176-Pin PowerPAD™ Plastic Quad Flat Pack [PTP suffix], 0.5mm pin pitch
  • Commercial, industrial, or extended temperature

Applications

  • Industrial automation
  • Home automation
  • Test and measurement
  • Portable data terminals

Functional Block Diagram

Block Diagram - Texas Instruments AM1705 Arm®-Based Microprocessor (MPU)
Published: 2016-02-03 | Updated: 2025-06-23