Texas Instruments LP8758-EA Four 4A Output Step-Down Dc-DC Converter

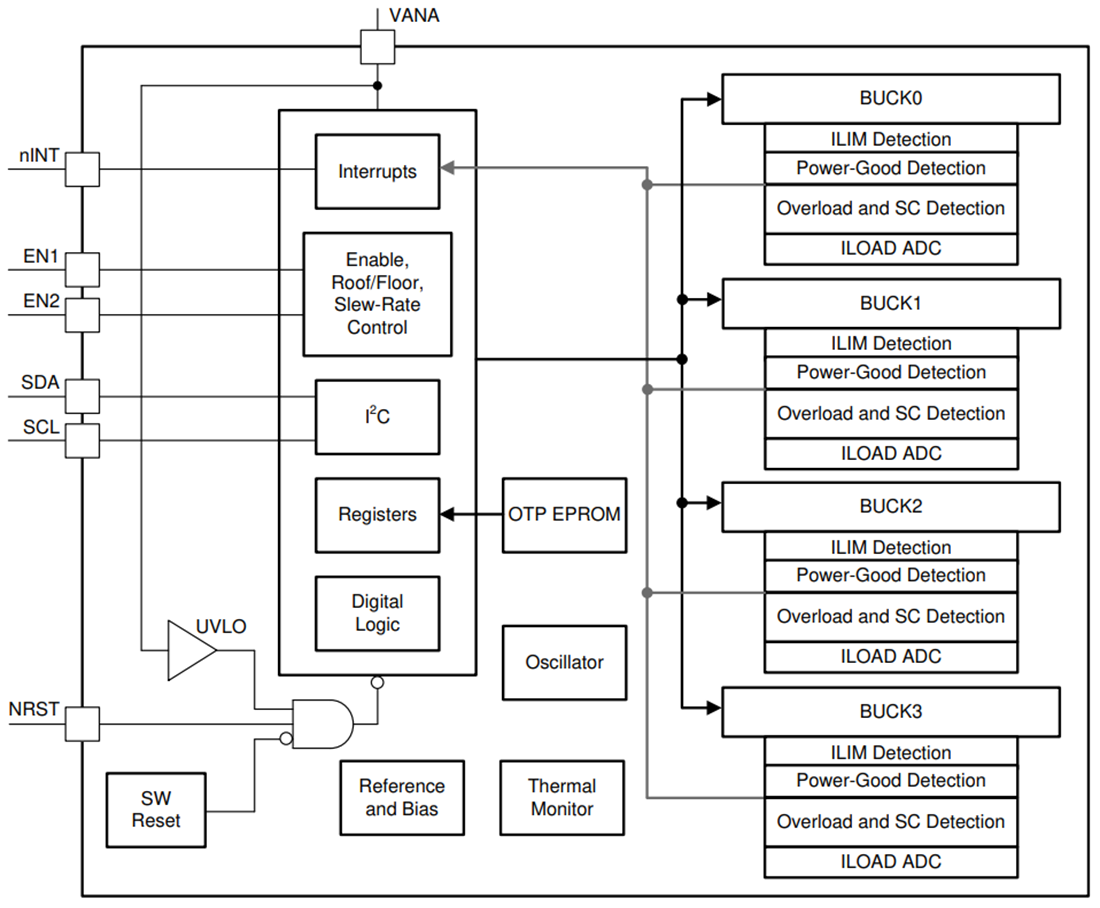
Texas Instruments LP8758-EA Four 4A Output Step-Down Dc-DC Converter is designed to meet power management requirements for low-power processors in mobile phones, network cards, and similar applications. The device contains four step-down DC-DC converter cores, providing four output voltage rails. The device is controlled by an I2C-compatible serial interface. The automatic PWM-PFM (AUTO mode) operation maximizes efficiency over a wide output current range. The LP8758-EA supports programmable start-up and shutdown sequencing synchronized to hardware Enable input signal.

The protection features include short-circuit protection, current limits, input supply UVLO, and temperature warning and shutdown functions. Several error flags are provided for the status information of the device. In addition, the Texas Instruments LP8758-EA device supports load-current measurement without the addition of external current sense resistors. During start-up and voltage change, the device controls the output slew rate to minimize output voltage overshoot and the inrush current.

Features

  • Fully integrated quad buck, up to 4A programmable maximum output current per buck
    • Auto PWM-PFM and forced-PWM operations
    • Programmable output voltage slew rate from 30mV/µs to 0.5mV/µs
    • Input voltage range: 2.5V to 5.5V
    • VOUT range (0.5V to 3.36V with DVS)
  • Programmable start-up and shutdown sequencing with enable signal
  • I2C-compatible interface that supports standard (100kHz), fast (400kHz), fast+ (1MHz), and high-speed (3.4MHz) modes
  • Interrupt function with programmable masking
  • Load current measurement
  • Output short-circuit and overload protection
  • Spread-spectrum mode for EMI reduction
  • The four buck cores operate 90° out of phase, thereby reducing input ripple current
  • Overtemperature warning and protection
  • Undervoltage Lockout (UVLO)

Applications

  • Optical modules
  • Drone systems
  • Smartphones, eBooks, and tablets
  • Solid-state drives

Functional Block Diagram

Block Diagram - Texas Instruments LP8758-EA Four 4A Output Step-Down Dc-DC Converter
Published: 2021-06-03 | Updated: 2022-10-27