Texas Instruments PCM1804 Stereo Analog-to-Digital Converter

Texas Instruments PCM1804 Stereo Analog-to-Digital Converter is a high-performance, single-chip stereo A/D converter with fully differential analog voltage input. The PCM1804 uses a precision delta-sigma modulator and includes a linear phase antialias digital filter and high-pass filter (HPF) that removes dc offset from the input signal. The PCM1804 is suitable for a wide variety of mid to high-grade consumer and professional applications, where excellent performance and 5V analog supply and 3.3V digital power-supply operation are required. The PCM1804 can achieve both PCM audio and DSD format due to the precision delta-sigma modulator. The Texas Instruments PCM1804 is fabricated using an advanced CMOS process and is available in a small 28-pin SSOP package.

Features

  • 24-Bit Delta-Sigma Stereo A/D Converter
  • High Performance
    • 112dB (Typical) Dynamic Range
    • SNR: 111dB (Typical)
    • -102dB (Typical) THD+N
  • High-Performance Linear Phase Antialias Digital Filter
    • ±0.005dB Pass-Band Ripple
    • -100dB Stop-Band Attenuation
  • ±2.5V Fully Differential Analog Input:
  • Audio Interface (Master- or Slave-Mode Selectable)
  • Data Formats (Left-Justified, I2S, Standard 24-Bit, and DSD)
  • Function:
    • Peak Detection
    • -3dB at 1Hz, fS = 48kHz High-Pass Filter (HPF)
  • Sampling Rate up to 192kHz
  • System Clock (128fS, 256fS, 384fS, 512fS, or 768fS)
  • Dual Power Supplies
    • 5V for Analog
    • 3.3V for Digital
  • 225mW Power Dissipation
  • Small 28-Pin SSOP
  • DSD Output (1 Bit, 64fS)

Applications

  • AV Amplifier
  • MD Player
  • Digital VTR
  • Digital Mixer
  • Digital Recorder

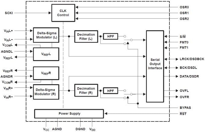
Functional Block Diagram

Block Diagram - Texas Instruments PCM1804 Stereo Analog-to-Digital Converter
Published: 2014-09-09 | Updated: 2022-03-11