Texas Instruments TXS0104V/TXS0104V-Q1 4-Bit Voltage Translators
Texas Instruments TXS0104V/TXS0104V-Q1 4-Bit Level Shifting Voltage Translators are non-inverting translators that use two separate configurable power-supply rails. The A port is designed to track VCCA, which accepts any supply voltage from 1.65V to 3.6V and must be less than or equal to VCCB. The B port is designed to track VCCB, which accepts any supply voltage from 2.3V to 5.5V. This feature allows for low-voltage bidirectional translation between 1.8V, 2.5V, 3.3V, and 5V voltage nodes.When the output-enable (OE) input is low, all outputs are placed in the high-impedance state. The TXS0104V/TXS0104V-Q1 is designed so that the OE input circuit is supplied by VCCA. For the high-impedance state during power up or power down, tie OE to GND through a pull-down resistor; the driver's current-sourcing capability determines the minimum value of the resistor. The TXS0104V-Q1 devices are AEC-Q100 qualified for automotive applications.
Features
- No direction-control signal needed
- Maximum data rates
- 24Mbps (push-pull)
- 2Mbps (open-drain)
- 1.65V to 3.6V on A port and 2.3V to 5.5V on B port (VCCA ≤ VCCB)
- No power-supply sequencing is required (either VCCA or VCCB can be ramped first)
- Latch-up performance exceeds 100mA per JESD 78, class II
- ESD protection exceeds JESD 22
- A port
- 2000V human-body model (A114-B)
- 500V charged-device model (C101)
- B port
- 5000V human-body model (A114-B)
- 500V charged-device model (C101)
- A port
Applications
- Handset
- Smartphone
- Tablet
- Desktop PC
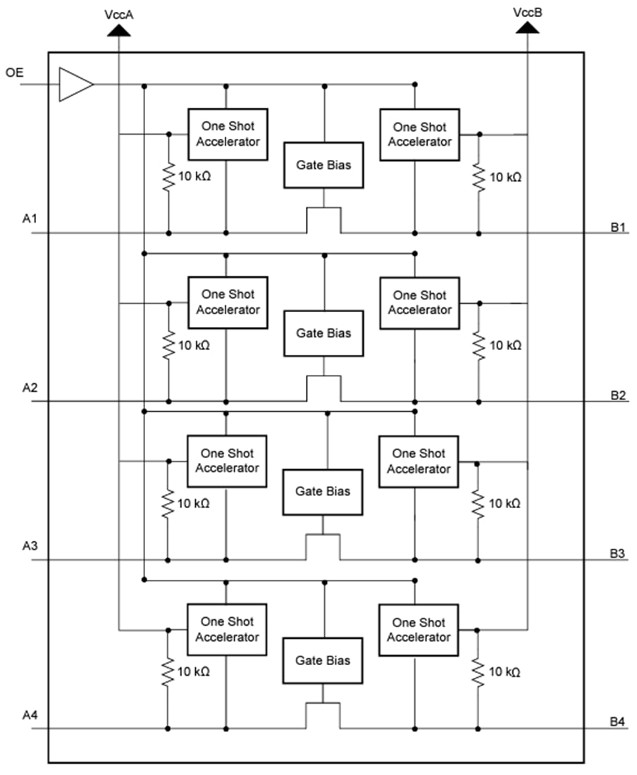
Functional Block Diagram
Additional Resources
Published: 2024-11-07
| Updated: 2025-05-09
